
x
Installation and Removal
x
When Will I Get My Order?
x
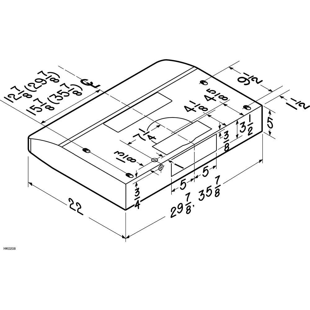
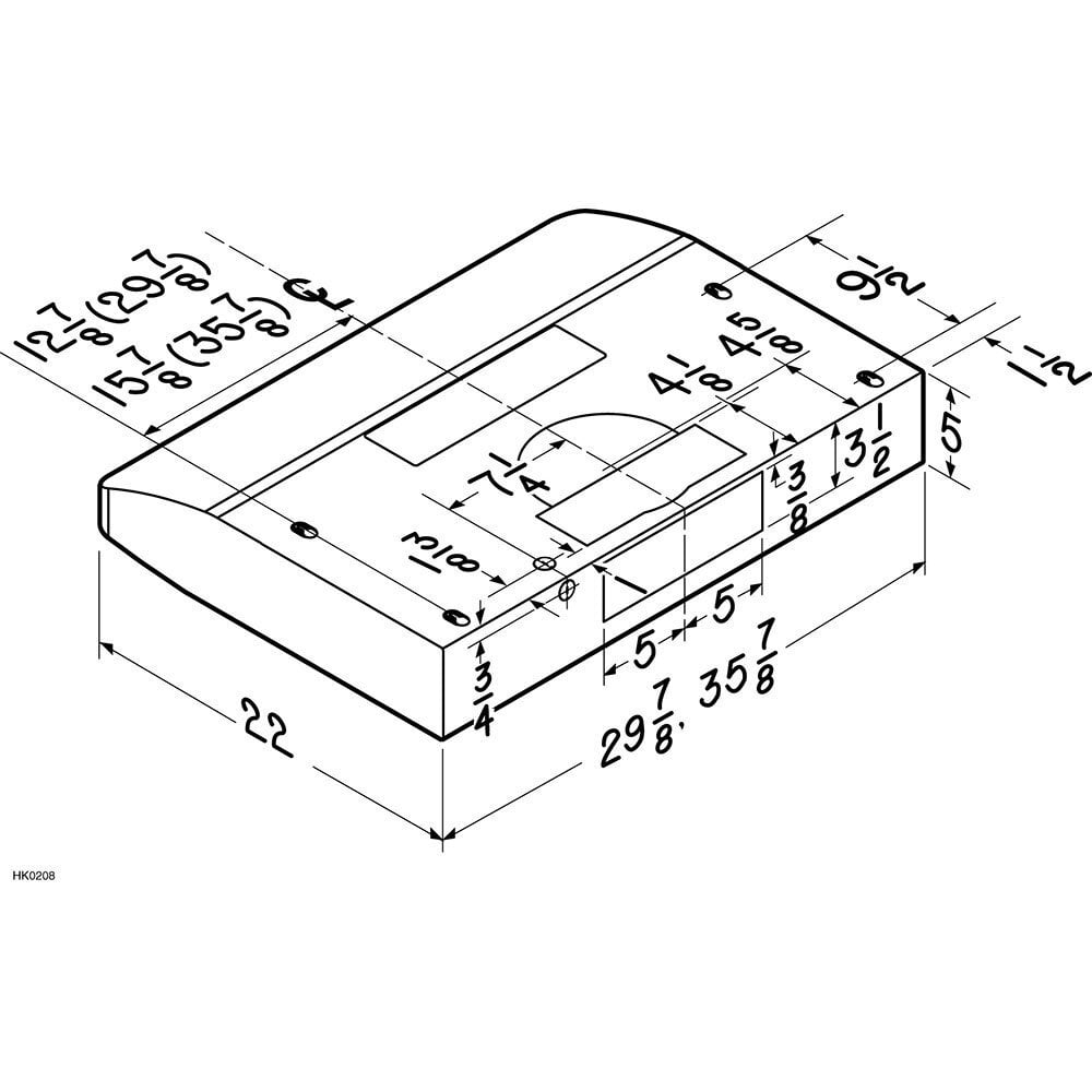
Broan ALT230WW Broan® Elite 30-Inch Convertible Under-Cabinet Range Hood, White
The Sculpted Lines Of Alta Bring An Exciting, New Choice To Typical Range Hood Shapes. Wide Curves, Tap-Touch Capacitive Controls And Led Lighting Present A Clean, Striking Design.
- Model replaced BQDD130WW
- The Captur system's advanced blower design features a forward positioned centric inlet to remove smoke and odor faster. Three-speed blower control exhausts at 300 CFM
- Smooth-flow blower wheel design and high flow filters ensure quiet, 1.2 sones operation at normal speed
- Bright, two-level LED modules - supported by a 3-year warranty - illuminate evenly and are tested in cooking environments to ensure long life without dimming. Color Temperature 3000 K
- Tap-touch, 3-speed capacitive control features a smooth, easy-to-clean surface
- Dishwasher-safe, deluxe micro-mesh filters provide highly efficient grease removal and patterned cover provides a decorative complement to the hood design. The filter clean reminder ensures they will always maintain a high level of capture
- EZ1 brackets make it easy for single person installation in less than half the time of traditional methods
- ADA compliant, remote operation is possible using a standard UL approved wall switch.
- Non-duct capable with use of charcoal filters, sold separately. Hidden louvers on top of hood exhaust away from cabinetry
Alta BQDD1, BQLA1, BQSJ1, EQLD1 Family Range Hoods

Broan Alta BQSJ1, BQDD1 Single Blower Under Cabinet Range Hood Installation

Broan EZ1 Installation System Features and Benefits
Captur Shadowgraph Broan

Cleaning a Range Hood Filter

Indoor Air Quality: Passions

Older Homes and Indoor Air Quality

Proper Use of a Range Hood

Proper Ventilation Equals a Healthy Home

Range Hoods Reinvented

Spot Ventilation Can Improve the Indoor Air Quality in Your Home

Specification Sheet
Installation Guide
Range Hood Cord Kit Installation Guide
ADA Wiring Instructions
LED Light Information
Installation Guide
Range Hood Cord Kit Installation Guide
ADA Wiring Instructions
LED Light Information
White
Stainless Steel
Black